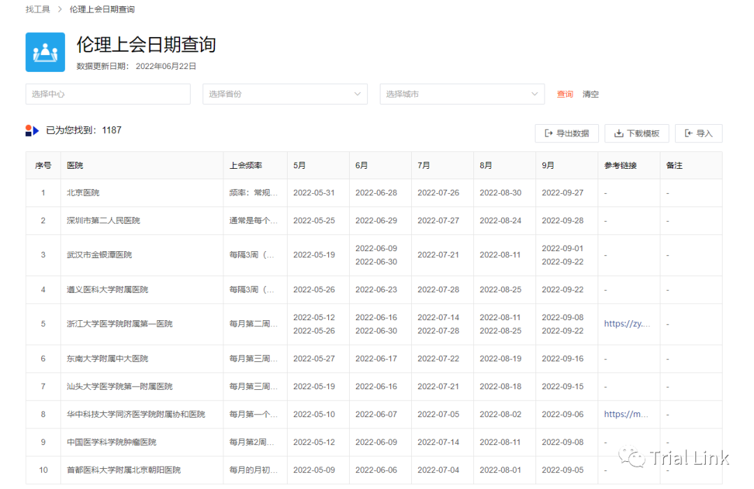
手机访问:wap.265xx.com持续更新!全国161家中心8月、76家中心9月伦理上会日期汇总
为了提前了解各家site伦理上会日期,我们在药研社APP上发起调研,向行业小伙伴们收集相应信息。每周,我们会将本周收集到的最新上会日期汇总,公布给大家除此之外,收集到的数据也会在Trial.Link平台中更新,通过【伦理上会日期查询】工具,输入中心名称即可查询,方便快捷!
如何使用?第一步:访问https://www.trial.link,登录Trial.Link第二步:在【找工具】模块找到 【伦理上会日期查询】即可体验!
以下是本周公布的161家中心8月和76家中心9月伦理上会日期:
使用过程中
如有任何问题
可联系客服电话:400-1678-112
也可扫码添加客服小助理微信
扫码添加小助理微信,咨询更多相关信息
最近更新小说资讯
- 特别推荐 收藏共读|朱永新:新教育实验二十年:回顾、总结与展望(上)
- 网红+直播营销模式存在的问题及建议
- 火星探测、卫星搜寻、星球大战,你有怎样的“天问”?
- 希腊男性雕塑 希腊人的美学,那里越小越好
- 枸杞吃多了会怎么样 成年人一天可以吃多少
- “妈妈和哥哥被枪杀后,我变成地球最后一个幸存者”:热搜这一幕看哭了……
- 节约粮食倡议书400字作文
- 祖孙三代迎娶同一个妻子,本以为是笑话,没想到却是真实故事
- 进击的中东,唯有一声叹息
- 唐山性感老板娘不雅视频曝光,少妇贪心,少男痴情!注定两败俱伤
- 【盘点】5G时代下,相关专业有哪些?
- 毁三观的旧案, 双胞胎兄弟交换身份与女友发生关系, 终酿伦理纠纷
- 腾格尔在当今乐坛的地位如何(腾格尔为什么能)
- 小贝日本游,11岁小七身材发育成熟,穿紧身衣有曲线,瘦了一大圈
- 甩三大男神前任,恋上有家室老男人拿下影后,她人生比电影还精彩
- 女英雄为国为民,先后嫁给3人,却落个精神崩溃服毒自尽
- 墨西哥超大尺度神剧,四对超高颜值情侣一言不合竟开启“换妻游戏”?
- 妈妈对小学孩子的成长寄语
- 面向未来的工程伦理教育
- 用大宝贝帮妈妈通下水道好吗
- 第36章:家庭伦理
- 华东师范大学心理学考研看这一篇就够了
- 李玉《红颜》 电影带来的世界44
- 微改造 精提升⑩ | “渔民画云码头”,探索传统非遗产业化发展新路径
- 清朝皇帝列表及简介 清朝历代皇帝列表