手机访问:wap.265xx.com临床试验申请的整个流程是什么?
临床试验启动阶段
1.获得药物临床试验批件
2.制作研究者手册
(理化性质、药理、药化、药效、毒理以及已有的临床研究资料,制作研究者手册。研究者手册是临床试验开始前的资料汇编。研究者手册的内容一般包括:目录、序言、化学和物理性质、临床前研究、药理学研究、药代动力学研究、毒理学研究、已有临床资料、药品使用信息。)
3.筛选主要研究者
CFDA网站中浏览临床药理基地名录,筛选医院(一般来说不是整个医院而是某个科室),然后选择合适的主任级医生;联系主任医生(看是否有意向,在给予任何资料前,签保密协议,然后发放可行性问卷,收集可行性问卷,确认完整无误,回复感谢信,感谢其参与问卷调查)
注:先拜访研究者还是医院相关部门视具体情况而定,没有统一标准。如果可行,可安排访视,具体考察该基地是否有能力执行临床试验;
(电话预约研究者,给予方案和研究者手册,确认要讨论的具体问题,如:研究人员的分配、方案的可行性、能否入够病人及如何保证其依从性、药品管理、档案管理、研究者职责、主要研究者资质的确认、相关研究人员的资质、硬件设施考察、伦理委员会的访视(承不承认中心伦理、伦理开会频率、送审清单、伦理委员会人员清单)、书写访视报告、再次拜访,与其讨论方案、试验时间、试验费用等问题。)
4.试验文件准备
(同CRO、申办者、主要研究者,共同制定临床试验方案、病例报告表、知情同意书样本、原始文件;CRO制定临床试验中其他用表)
5.其他研究者筛选
5.1 从临床基地名录中选择其他可能的研究者,可根据首研者的推荐以及公司曾经合作的情况进行综合判断;
5.2 准备资料:方案、研究者手册、知情同意书样本、病例报告表;
5.3 与其谈论方案,要求提供其医院所能提供的病例数、时间进度和经费预算;
5.4 选定合适研究者,征得其医院管理部门的同意。
6.召开多中心临床方案论证会(研究者会议),讨论试验方案、CRF等;
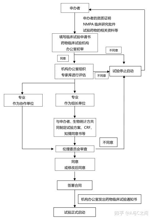
7.取得伦理委员会批件
(按照GCP的要求,所有临床试验必须得到伦理委员会的批准。在实际进行临床试验时,首先必须取得牵头单位伦理委员会的批准,其他参加单位是否要过伦理根据各家单位的具体要求而定。)
(伦理委员会将对有关批件、药检报告、研究者手册、知情同意书样本、试验方案(protocal)、病例报告表进行审批;)
8.试验药品准备
(申办方进行试验用药品的送检;生物统计师设计随机分组方案;根据随机分组方案,设计药品标签;设计应急信件;盲底设置等。)
(药品包装:为每一个受试者准备好一盒药物,药盒上贴好标签,并装入相应的应急信件;)
9.各种物品印刷和准备
(CRF、知情同意书、患者日记、标签、药盒、礼品)
注:各种物品印刷和试验药品准备可在研究者会议后开始准备,同时申请伦理委员会批件。
10.各方签订协议
10.1 召开临床试验启动会(启动访视),事后书写访视报告(会议内容包括:试验人员培训,以达到统一标准的目的;试验相关文件、表格、药品分发到各研究者。)
11.在临床试验登记平台进行登记
11.1 药物临床试验登记与信息公示的范围和内容
(凡获国家食品药品监督管理总局临床试验批件并在我国进行临床试验(含生物等效性试验、PK试验/药物代谢动力学试验、I、Ⅱ、Ⅲ、IV期试验等)的,均应登陆信息平台(网址:http://www.cde.org.cn),按要求进行临床试验登记与信息公示。)
(登记内容包括:①临床试验批件的复印件、②己确定的临床试验方案、③临床试验负责机构及主要研究者姓名参加研究单位及研究者名单、④伦理委员会审核同意书、⑤知情同意书样本、⑥CRF样本)
11.2 药物临床试验登记与信息公示的实施要求
自本公告发布之日起,对新获得药物临床试验批件的,申请人须在获批件后1个月内完成试验预登记,以获取试验唯一登记号;在第1例受试者入组前完成后续信息登记,并首次提交公示。获批件1年内未完成首次提交公示的,中请人须提交说明;3年内未完成首次提交公示的,批件自行废止。
对已获得药物临床试验批件且批件有效的,申请人须在本公告发布之日起3个月内完成信息登记。
药物临床试验启动后,申请人与研究者应根据相关规范性文件要求与《药物临床试验登记填写指南》,通过信息平台及时完成相关试验信息更新与登记公示。
  

临床试验试验阶段
1.访视前充分准备
1.1 制定试验的总体访视时间表
1.2 令每一次访视前,回顾试验的进展情况、前次未解决的问题;
1.3 与研究者联系,确定访视日期,并了解试验用品是否充足;
1.4 制定访视工作的计划、日程表,准备访视所需的文件资料和物品;
2.监察项目
2.1 与研究者会面说明本次访视的主要任务,了解试验进展情况(受试者入选情况、病例报告表填写情况),以前访视所发现问题的解决情况。
2.2 核对并更新研究者管理文件夹,研究人员及职责有无变化(更新研究者列表、新研究者履历、并对其培训),检查并补充试验用品;
2.3 研究设施有无变化(是否校正、正常值范围、设施品牌、耗材供应状况)
2.4 检查知情同意书(ICF:informed consent form):
①签字日期与入选日期;
②签名情况(见证人、监护人、医生);
③版本号码;
④修改日期;
⑤新情况发生,是否修改知情同意书(送伦理委员会);⑥是否交予受试者;
⑦了解知情同意过程。
2.5 收集病例报告表;
2.6 试验药品管理的核查(存放情况、发放回收情况记录、清点药品并与相应记录核对、检查盲码信封、使用是否违反方案要求):
①检查药品的保存状况和记录情况;
②检查药品数量,与记录的数量核对;
③检查应急信封;
④检查药物使用情况的记录(患者日记),是否违反方案要求;
⑤是否按随机号码发放。
2.7 AE不良事件的处理
①检查SAE(严重不良事件)的报告(报告程序是否符合GCP及标准操作规程(SOP)要求报告及时间,是否通知中办者、SFDA、伦理委员会、其他研究者)和跟踪;
②SAE页填写情况(是否记录了不良事件的种类、描述、开始时间与持续时间、相关症状、轻重程度、发生频度、所做检查和治疗,记录规范、处理是否及时);
③SAE处理(是否得到了应有的医疗保护或适当的经济补偿、是否停药);
④确认是否与试验药物相关;
⑤是否需要开启应急信封;
⑥跟踪不良事件的最终结果;
⑦监查所有不良事件的临床资料,再次查看知情同意书;
⑧注意个人隐私,受试者在试验中的编号,不暴露其姓名、住址和身份证号码。
2.8 研究者文件夹的更新
2.9 书写监察报告
3.记录所发现的问题;
4.与研究者一起讨论和解决此次访视发现的问题,交流其他研究单位的进展和经验;
5.将取回的药品、物品、已签署的知情同意书、病例报告表等按规定存放;
6.填写访视报告;
7.更新各项记录表格;
8.对发现问题的追踪及解决;
9.安排后续访视计划;
10.临床试验过程中,如试验方案、知情同意书、病例报告表发生改动,需报伦理委员会审批;
11.临床试验中发生SAE(严重不良事件),必须在24小时内报告药品监督部门,并尽快报告伦理委员会和申办者;
12.病例报告表收集同时,生物统计师建立数据库,设定逻辑校验程序,并将收集到的病例报告表输入。输入过程中发现病例报告表有问题,则立即提交监察员,由监察员在下次访视中加以解决;
13.当数据库中已有一定病例记录时,生物统计师开始编撰统计分析程序,并利用己有数据进行调试。
  

临床试验总结阶段
结束访视:访视前的准备:电话预约时间并确认
1.检查并解决常规访视中遗留问题
2.收集所有病例报告表并与原始文件核对检查
3.通知伦理委员会
4.试验用药的回收和销毁(结束访视)
①详细记录试验用药品的回收、存放;
②详细记录临床药品的销毁方法及经过
5.回收所有试验用品
6.更新所有记录表格
7.书写监察报告,档案归档
8.数据入库
在进行阶段,已经进行了一遍数据输入,收集所有病例报告表后,再输入一遍。
将两遍输入的数据进行自动校对,输出两者差别表。根据两者差别表,对照原始病例报告表进行改正。
9.生物统计师编写数据逻辑校验程序,以程序分析数据库中数据的合理性
10.对于逻辑校验程序发现的问题,对照原始病例报告表。如果是输入错误,则加以改正;如果是原始病例报告表填写有误,则再返回医院,进行检查更正
11.所有数据通过数据逻辑校验程序的审查后,锁定数据库
12.统计分析
生物统计师(甲)编写统计分析程序。
对每个医院进行分析;对所有医院总和进行分析;对符合方案集进行分析;对意向集进行分析。
生物统计师(乙)编写验算程序,对生物统计师(甲)的分析结果进行验算。
生物统计师提交统计分析报告。
13.召开临床试验总结会(二次揭盲)
14.合同尾款结算
15.申报资料盖章以及其他资料准备
CRF等物资(QA、QC、统计)合同(注意小包项目、考核)药品(我方或厂家)备案。
16.会同研究者、申办者、CRO,根据统计分析结果,撰写临床试验总结报告
①临床监查员独立或协同研究者起草临床总结报告和分中心小结;
②临床总结报告和分中心小结最终由研究者审核并确定,并交由各中心签字、盖章。
17.临床资料存档
临床试验中所有文件均需按GCP 要求存档,并指定与人负责。应严格遵循“No record.
No action“之原则,对临床中涉及的每项工作均进行文件归档管理,并按照GCP要求存放。
注:GCP与ICH-GCP对文件的归档要求稍有不同,主要是对原件的归档要求不同。这时需要询问每个基地的归档清单,必要时准备两份原件,盖两个章,确保基地和申办者文件夹都有原件。
18.向SFDA提交临床试验总结和相关文件,注册报批
医疗器械临床试验流程和管理体系来源于药物临床试验,但是医疗器械作用机理和研究方法与药物临床研究存在较大差异,医疗器械临床试验法规及研究、管理体系近几年逐步从药物临床原有体系中独立出来,形成更加符合医疗器械临床研究的系统。
医疗器械临床试验前注意事项
预期的受益应当大于可能出现的损害。
2. 完成医疗器械临床前研究。
3. 准备充足的试验用医疗器械。
4. 医疗器械临床试验应当在两个或两个以上医疗器械临床试验机构中进行。
5. 申办者与临床试验机构和研究者达成书面协议。
6. 列入需进行临床试验审批的第三类医疗器械目录产品的临床试验需获得批准。
7. 申办者应向所在省、自治区、直辖市食品药品监督管理部门备案。
医疗器械临床试验流程
1.申办者根据自身的产品的特点、预期用途、适应症、适用范围、选择临床试验中心。至少需要确定两家临床上实验中心,并与医院负责承接临床试验的负责人洽谈是否可以承接临床试验的项目。
2.如果可以承接的话,就确定放在哪个科室进行,其主要研究者的名字并收集齐研究者的主要履历及签名的样张。
3.对临床方案和CRF表格的设计,并召开临床方案的讨论会议。
4.准备伦理委员会的材料。一般包括:
1、临床试验方案;
2、研究者手册或等效文件;
3、知情同意书样张和其他任何提供给受试者的书面材料;
4、招募受试者和向其宣传的程序;
5、主要研究者简历和/或其他证明其资格的文件;
6、病例报告表样张;
7、给予受试者报酬或补偿的文件;
8、伦理委员会履行职责所需要的其他文件;
9、试验用医疗器械。
5.如果伦理会通过的话,需要与伦理会签订临床协议的项目书。
6.召开临床试验的启动会。
7.对临床试验的过程进行监察和稽查,并对临床试验的过程中的记录和医疗器械的发放进行监督和记录。
8.在临床试验试验的后期对临床的数据统计和分析,并对临床报告的总结。
9.得出临床试验的结论:临床试验的产品是安全、有效的。患者承受的风险小于其受益。
  

最近更新生活资讯
- 反转再反转,这部科幻末世灾难片真的爽
 - 快捷指令sky电影捷径库
 - 2021《自然》年度十大人物:塑造科学,造福社会
 - 千里单骑救萝莉却被捕,“正义使者”成了谁的牺牲品?
 - 浪漫爱情励志人生 最震撼人心的十部日剧(图)
 - 短篇小说(家庭伦理)
 - 推动农业绿色低碳循环发展 推动农业绿色发展、协调发展
 - 资料:成奎安电影作品《灯草和尚》(1992)
 - 稻盛和夫《活法》1
 - 合肥市第六中学2019-2020学年下学期2019 级高一年级线上线下教学衔接学
 - 全网的电视剧,电影和动漫无偿观看(每年的都有哦)
 - 理想国
 - 刺激!梅州首部限制级伦理微电影《幻镜》网络首映!
 - 男人为何迷恋女人胸部?
 - 陆小曼与林徽因:都是富养的女儿,差别在哪里?
 - 问题已被解决?
 - 看了多少烂片,才找出这92部经典!
 - 金高银:怎么从拿8个电影奖的怪物新人沦为了被众嘲的“资源咖”?
 - 猎天下第2部:河阴之变
 - 封神演义读后感100字(五篇)
 - 又一部岛国神作,堪称校园版《权力的游戏》!
 - 【全面解读】2022年以后,再无“国产”BCBA?
 - 鬼文化(商代的帝王文化))
 - 豆瓣9.2分年度第一佳片,每一秒都是夏日初恋的味道
 - 社会的重器:性侵犯罪信息统一查询平台,还校园一片蓝天